29 октября 2018
0
0
Tamron опубликовала список объективов, совместимых с камерой Canon EOS R
Презентация

Tamron опубликовала список объективов, совместимых с камерой Canon EOS R

Компания Tamron представила список объективов, которые совместимы с камерой Canon EOS R, при установке через адаптер EF-EOS R. Ранее компания также выпускала уведомление о несовместимости своих объективов с камерой Nikon Z7, но этот вопрос по-прежнему находится на стадии выявления причини и поиска решения.

6 октября 2018
0
0
Tamron сообщает о несовместимости своих объективов с камерой Nikon Z7
Презентация

Tamron сообщает о несовместимости своих объективов с камерой Nikon Z7

Компания Tamron предупредила своих клиентов о несовместимости некоторых объективов, разработанных для крепления Nikon F, с новой камерой Nikon Z7 при установке через адаптер FTZ. Официальное обращение было опубликовано на сайте компании.

31 августа 2018
0
0
Tamron выпускает усовершенствованный зум-объектив SP 15-30mm F/2.8 Di VC USD G2 для Nikon и Canon
Презентация

Tamron выпускает усовершенствованный зум-объектив SP 15-30mm F/2.8 Di VC USD G2 для Nikon и Canon

Компания Tamron, ведущий производитель оптической продукции для различных сфер применения, объявляет о выпуске нового ультраширокоугольного зум-объектива SP 15-30 mm F/2.8 Di VC USD G2 (Модель A041) для полнокадровых цифровых зеркальных камер. Объектив нового поколения с первоклассной оптикой и широким спектром функций удовлетворит любые запросы, оживит и поднимет съемочный процесс на новую высоту. Данная модель уже третья из серии второго поколения высокоскоростных светосильных зум-объективов Tamron с максимальной диафрагмой F/2.8 и системой стабилизации изображения VC, которые выпускаются с аббревиатурой G2 (поколение 2).

6 августа 2018
0
0
Tamron 17-35 мм F/2.8-4 Di OSD – новый ультра-широкоугольный объектив в компактном корпусе.
Презентация

Tamron 17-35 мм F/2.8-4 Di OSD – новый ультра-широкоугольный объектив в компактном корпусе.

Компания Tamron аноносировала объектив 17-35 мм F/2.8-4 Di OSD (модель A037) для полнокадровых зеркальных камер Nikon и Canon. В конструкции нового объектива используются исключительно высококачественные оптические элементы, а диапазон его фокусных расстояний делает объектив идеальным инструментом как для профессиональной пейзажной фотографии, так и для обычной повседневной съёмки.

5 июля 2018
0
0
Tamron выпускает обновление встроенного ПО для объектива 28-75mm F/2.8 Di III RXD (Model A036)
Презентация

Tamron выпускает обновление встроенного ПО для объектива 28-75mm F/2.8 Di III RXD (Model A036)

Компания Tamron выпускает обещенное обновление для объектива 28-75mm F/2.8 Di III RXD (Model A036), которое исправляет работу автофокуса при использовании с полнокадровыми камерами Sony. Новое обновление доступно для загрузки, и может быть установлено непосредственно через камеру.

1 июня 2018
0
0
Tamron исправит работу автофокуса объектива 28-75mm f/2.8 (A036) выпуском прошивки.
Презентация

Tamron исправит работу автофокуса объектива 28-75mm f/2.8 (A036) выпуском прошивки.

Tamron опубликовала уведомление о проблеме фокусировки объектива 28-75mm f / 2.8 Di III RXD (модель A036) для камер Sony. Компания выясняет причину ошибки и обещает в скором времени выпустить прошивку, которая устранит проблему.

15 мая 2018
0
0
Объективы Tamron удостоены престижных премий TIPA Awards 2018 в двух номинациях
Презентация

Объективы Tamron удостоены престижных премий TIPA Awards 2018 в двух номинациях

Компания Tamron, ведущий производитель оптической продукции для различных сфер применения, сообщает о том, что Ассоциация TIPA объявила о присуждении награды TIPA 2018 двум объективам Tamron: 70-210mm F/4 Di VC USD (Модель A034) в еноминации "Лучший телезум-объектив для цифровых зеркальных камер” и 18-400mm F/3.5-6.3 Di II VC HLD (Модель B028) в номинации "Лучший суперзум-объектив для цифровых зеркальных камер".

27 апреля 2018
0
0
Tamron выпускает новый объектив 28-75 мм F/2.8 Di III RXD для Sony E-mount
Презентация

Tamron выпускает новый объектив 28-75 мм F/2.8 Di III RXD для Sony E-mount

Первое упоминание о новом объективе состоялось ещё в феврале, когда Tamron объявил о его разработке, а первый прототип был продемонстрирован уже на выставке CP+ 2018. Сегодня Tamron официально анонсировал 28-75mm F2.8 Di III RXD, раскрыв полную спецификацию, дату выпуска и информацию о ценах.

22 февраля 2018
0
0
Tamron 70-210 mm F4 Di VC USD - компактный, лёгкий и удобный телезум-объектив
Презентация

Tamron 70-210 mm F4 Di VC USD - компактный, лёгкий и удобный телезум-объектив

Компания Tamron, ведущий производитель оптической продукции для различных сфер применения, объявляет о выпуске нового объектива 70-210 mm F/4 Di VC USD (Модель A034) - компактного телезума для полнокадровых цифровых зеркальных камер. Новый телеобъектив влагоустойчив и снабжен защитным фтористым покрытием передней линзы для комфортных съемок под открытым небом и обладает превосходными оптическими характеристиками.

22 декабря 2017
0
0
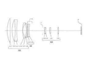
Tamron работает над созданием трёх новых объективов
Презентация

Tamron работает над созданием трёх новых объективов

Согласно данным патента, Tamron ведёт разработку новых высококачественных объективов: 300-мм F2.8, 400mm F4 и 500mm F4.