12345
21 января 2018
0
0
Nikon разрабатывает собственный многослойный BSI CMOS сенсор
Презентация

Nikon разрабатывает собственный многослойный BSI CMOS сенсор

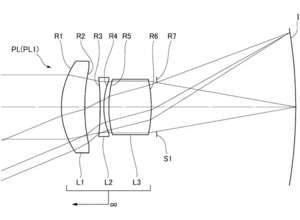
Очередной патент Nikon показывает, что кампания работает над созданием многослойного датчика BSI CMOS. В настоящее время датчики Nikon выпускаются по технологии FSI, а флагман компании Nikon D850 использует датчик 45MP BSI CMOS от Sony.

19 января 2018
+1
0
Nikon ведёт разработку новой системы управления объективом
Презентация

Nikon ведёт разработку новой системы управления объективом

Согласно данным патента Nikon работает над совершенно новой системой управления объективом на основе сенсорных датчиков. Возможно, что данная система впервые будет представлена на готовящихся к выходу беззеркальных камерах компании, анонс которых ожидается в этом году.

17 января 2018
+1
0
Обновление прошивки для Nikon D850
Презентация

Обновление прошивки для Nikon D850

Nikon выпустил первое обновление прошивки для своей полнокадровой зеркальной камеры D850. Версия 1.01 исправляет ряд ошибок, которые возникали при работе с камерой.

8 января 2018
0
0
Nikon работает над объективом для изогнутого сенсора
Презентация

Nikon работает над объективом для изогнутого сенсора

Патент, появившийся ещё в марте 2017 года, наглядно даёт понять, что Nikon работает над созданием объектива для изогнутого сенсора и, по-видимому, проектирует полнокадровую зеркальную камеру на его основе.

8 января 2018
0
0
Ожидаемые камеры Nikon в 2018 году
Презентация

Ожидаемые камеры Nikon в 2018 году

2017 год был для Nikon довольно насыщенным. Компания отметила 100 летний юбилей, получила несколько престижных наград и премий, одной из которых стала TIPA Awards, а также анонсировала две зеркальные камеры формата FX и DX - D850 и D7500. Каких анонсов мы можем ожидать от Nikon в 2018 году?

14 ноября 2017
+1
0
Компания Nikon приглашает на Nikon Day в Краснодаре
Презентация

Компания Nikon приглашает на Nikon Day в Краснодаре

Москва, Россия, 14 ноября 2017 г. — Компания Nikon, которая в этом году отмечает свое столетие, устроит в Краснодаре масштабный праздник для любителей фотографии — Nikon Day. 18 ноября в ГК Екатерининский выступят амбассадоры Nikon и другие звезды фотоиндустрии c увлекательными лекциями и мастер-классами. Также любой желающий на мероприятии сможет попробовать в деле новую камеру D850, в зоне тест-драйва будут доступны более 30 моделей объективов, а также несколько небольших студий с профессиональными моделями! Праздники Nikon Day уже прошли в Москве, Санкт-Петербурге и Екатеринбурге, объединили свыше 1500 гостей — настала очередь фотографов из Краснодара!

8 ноября 2017
+1
0
Компания Nikon приглашает на Nikon Day в Екатеринбурге
Презентация

Компания Nikon приглашает на Nikon Day в Екатеринбурге

Москва, Россия, 07 ноября 2017 г. — Компания Nikon, которая в этом году отмечает свой столетний юбилей, устроит в Екатеринбурге Nikon Day — масштабный праздник для любителей фотографии. Мероприятия Nikon Day уже прошли в Москве и Санкт-Петербурге. Теперь шанс посетить уникальное событие есть у всех жителей Свердловской области! Мероприятие состоится 11 ноября в Ельцин Центре. Любой желающий сможет посетить мастер-классы амбассадоров Nikon, других звезд фотоиндустрии и открыть для себя новые грани любимого ремесла. Полученные знания удастся применить каждому во время тест-драйва с помощью новой камеры D850, дополнительно в день события будут доступны более 30 моделей объективов!

26 сентября 2017
0
0
Лучшие объективы для камеры Nikon D850
Презентация

Лучшие объективы для камеры Nikon D850

Как вы знаете, камера Nikon D850 оснащена массивным датчиком разрешения 45 МП, поэтому вам нужны лучшие линзы, чтобы использовать мощность мегапиксельного монстра. Следующая важная причина, по которой вы должны получить высококачественные линзы, в ведущей системе автофокусировки (Multi-CAM 20K 153-Point AF System) камеры. Nikon D850 использует тот же процессор обработки, что и для камеры Nikon D5. Камера непрерывно снимается со скоростью 7 кадров в секунду до 51 последовательного 14-битного без потерь.

17 сентября 2017
0
0
Следующий! Nikon готовит к выпуску зеркальную камеру DF2
Новости компаний

Следующий! Nikon готовит к выпуску зеркальную камеру DF2

В недавнем интервью Tetsuro Goto, директора лаборатории исследований и разработок Nikon Japan, выяснилось, что Nikon работает над модернизацией камеры DF2 в ретро-дизайне. В предстоящей модели может быть использован либо матрица из флагмана Nikon D5, либо из горячей новинки - Nikon D850. Система AF-автофокуса получит также флагманское обновление - до системы автофокусировки по всему кадру в 153 точках, а базовая спецификация также заметно обновится. Ретро-дизайн Nikon DF2 сохранится в прежнем виде.

15 сентября 2017
0
0
Nikon объявляет о начале продаж фотокамеры D850 в России
Презентация

Nikon объявляет о начале продаж фотокамеры D850 в России

Компания Nikon объявляет о начале продаж в России новой цифровой зеркальной фотокамеры D850, которая задает новые стандарты качества фото- и видеосъемки. Она обладает сочетанием высокого разрешения, скорости и светочувствительности, позволяя создавать безупречные снимки как в студии, так и в отдаленных уголках планеты.

14 сентября 2017
+1
0
Nikon D850. На что мы надеялись и что получили
Презентация

Nikon D850. На что мы надеялись и что получили

Nikon официально объявила о выпуске своей новой камеры D850. Поскольку многочисленные слухи раскрыли заранее характеристики камеры, анонс не был сюрпризом, но теперь о камере известно больше и уже из официальных источников. Предлагая датчик изображения с разрешением 45.7MP и максимальной частотой 9 кадров в секунду с системой автоматической фокусировки, унаследованной от D5, новая D850 выглядит очень впечатляющей камерой.

24 августа 2017
0
0
Новая фотокамера Nikon D850 со сверхвысоким разрешением –  продемонстрируйте мастерство с помощью исключительных возможностей
Презентация

Новая фотокамера Nikon D850 со сверхвысоким разрешением – продемонстрируйте мастерство с помощью исключительных возможностей

Компания Nikon представляет новую цифровую зеркальную фотокамеру D850. Фотографам, снимающим на полнокадровые камеры, новинка даст возможность использовать уникальное сочетание высокого разрешения, скорости и светочувствительности. Как в студии, так и в удаленных уголках планеты эта камера формата FX не просто выполняет свою работу — она задает новый стандарт качества.

18 августа 2017
0
0
Nikon D7500 признана лучшей полупрофессиональной зеркальной фотокамерой Европы в 2017-18 гг.
Презентация

Nikon D7500 признана лучшей полупрофессиональной зеркальной фотокамерой Европы в 2017-18 гг.

Компания Nikon сообщает о том, что ассоциация EISA (European Imaging and Sound Association) признала фотокамеру Nikon D7500 «Лучшей полупрофессиональной цифровой зеркальной фотокамерой Европы в 2017–2018 гг.» Эту награду, согласно коллективному мнению экспертов EISA, фотокамера D7500 получила за инновационную конструкцию и отличные технические характеристики.

31 июля 2017
0
0
Что будет внутри Nikon D850?
Новости рынка

Что будет внутри Nikon D850?

Вслед за утечкой фотографий новой камеры Nikon D850 потекла информация о её характеристиках. Полнокадровая зеркалка получит скорость серийной съёмки выше, чем 8 кадров в секунду. Несмотря на ожидания и попытки усмотреть на снимках какие-то детали необычного видоискателя, он будет вполне привычным.

29 июля 2017
0
0
Nikon D850 получит гибридный видоискатель?
Презентация

Nikon D850 получит гибридный видоискатель?

Нечто интересное было обнаружено на первых изображениях Nikon D850. Похоже, что камера получит гибридный видоискатель, который объединит электронные и оптические технологии. Это позволит Nikon использовать привилегии обоих технологий. Точная и быстрая автофокусировка на основе обнаружения фазы и преимущества беззеркальных систем, таких как focus peaking, WYSIWYG, и так далее.

27 июля 2017
+2
0
Nikon раскрывает подробности новой фотокамеры D850
Презентация

Nikon раскрывает подробности новой фотокамеры D850

В связи с предстоящим выпуском долгожданной цифровой зеркальной фотокамеры Nikon D850 компания Nikon объявляет о том, что новая модель будет разработана на основе самых передовых технологий. Фотокамера будет полнокадровой, высокоскоростной и с высоким разрешением.

23 мая 2017
0
0
Цифровая зеркальная камера Nikon D500 получила редакционную премию Camera GP 2017
Презентация

Цифровая зеркальная камера Nikon D500 получила редакционную премию Camera GP 2017

Компания Nikon с радостью сообщает, что цифровая зеркальная камера Nikon D500 получила редакционную премию Camera GP (Grand Prix) 2017. Ранее эта модель также удостоилась престижных наград от TIPA и EISA.

28 апреля 2017
0
0
Nikon выиграла четыре награды TIPA Awards 2017
Презентация

Nikon выиграла четыре награды TIPA Awards 2017

Четыре продукта компании Nikon получили престижную премию TIPA Awards 2017. Учредителем премии является Technical Image Press Association (TIPA), мировой авторитет в индустрии фотографии и обработки изображений. Камера Nikon D5600 была отмечена в номинации «Лучший цифровой зеркальный фотоаппарат начального уровня», COOLPIX W100 – «Самая крепкая камера», объектив PC NIKKOR 19mm f/4E ED стал «Лучшим профессиональным объективом», а KeyMission 360 получила награду в качестве «Лучшей камеры 360°».

12 апреля 2017
0
0
На уровне флагмана. Компания Nikon выпустили новую зеркальную фотокамеру D7500 формата DX
Презентация

На уровне флагмана. Компания Nikon выпустили новую зеркальную фотокамеру D7500 формата DX

Москва, Россия, 12 апреля 2017 г. Компания Nikon представляет фотокамеру D7500, которая призвана расширить творческий потенциал поклонников фотографии. Мощная, быстрая и обладающая широкими возможностями камера D7500 обеспечивает то же качество изображения, что и D500 — флагманская зеркальная камера Nikon формата DX, и безупречно работает даже в самых сложных условиях. Камера поступит в продажу в июне 2017 года. Рекомендованная розничная цена в России составит 94 990 рублей.

31 января 2017
0
0
Cтартовал 5-й ежегодный фотоконкурс Nikon - «Я В СЕРДЦЕ ИЗОБРАЖЕНИЯ».
Фотоафиша

Cтартовал 5-й ежегодный фотоконкурс Nikon - «Я В СЕРДЦЕ ИЗОБРАЖЕНИЯ».

Москва, Россия, 31 января 2017 г. — компания Nikon объявляет о старте 5-го ежегодного конкурса «Я В СЕРДЦЕ ИЗОБРАЖЕНИЯ», который призван поддержать профессиональных фотографов и открыть новые таланты. Победители конкурса будут объявлены лучшими фотографами 2017 года по версии Nikon Россия. В призовом фонде 90 ценных подарков от компании и партнеров, среди которых SanDisk и Manfrotto. Главные призы конкурса – профессиональные фотокамеры Nikon D810 и Nikon D750.

12345