Canon разрабатывает новое поколение адаптеров для зеркальных камер

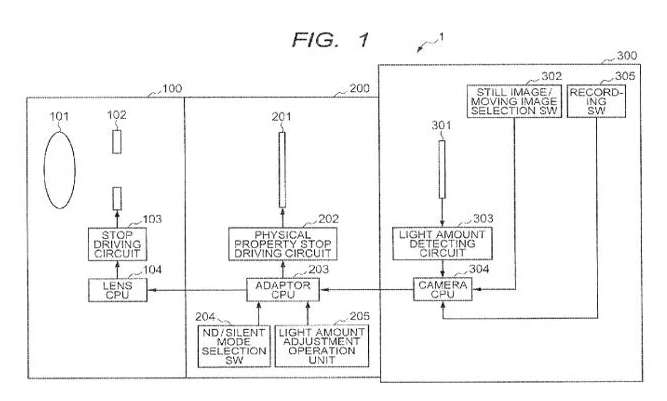
Согласно патентным данным, в конструкцию нового адаптера включён "вторичный блок регулировки количества света". Это указывает на то, что адапетер может получить встроенную функцию управления диафрагмой при использовании объективов EF / EF-S на EOS M Mount.


Адаптер может устанавливаться между взаимозаменяемым объективом, включающим в себя первичный блок регулировки количества  света, изменяющий площадь прохождения светового потока, и основным корпусом камеры, включающим в себя датчик изображения.  Вторичный блок регулировки количества света в новом адаптере, изменяет коэффециент пропускания светового потока путем изменения физических параметров и управляется с помощью специального контроллера.

В режиме съёмки, контроллер устанавливает коэффециент пропускания света в зависимости от настроек, задаваемых пользователем. В момент съёмки, контроллер преобразует команду, переданную от камеры в блок регулировки света объектива, в сигнал о завершении управления и передаёт этот сигнал обратно на камеру.

Источник: New Camera
RSS
0
14 декабря 2017

Отзывы и комментарии